A recent patent by Nintendo suggests an innovative rotating panel for the Switch dock, potentially easing the management of connection cables to TVs.


Nintendo Patent May Transform Switch Dock Wire Management

Nintendo, the well-known video game giant, has once again caught the attention of tech enthusiasts and Switch users with a new patent filing that aims at simplifying the process of connecting their popular gaming console, the Nintendo Switch, to televisions. This patent could potentially address what some users have experienced as a cumbersome cable setup due to the static design of the Switch dock's ports.

Currently, Switch users may find themselves trying to negotiate with a tangle of cables when they set up their docking station. The back of the standard Switch dock features an 'AC Adapter', 'HDMI Out', and 'LAN' ports, all of which are directed toward the left. This setup can lead to some inconvenience, especially if the television ports are located on the opposite side. Players may have to either stretch the cables awkwardly around the dock or figure out where to place the dock to avoid this hassle.

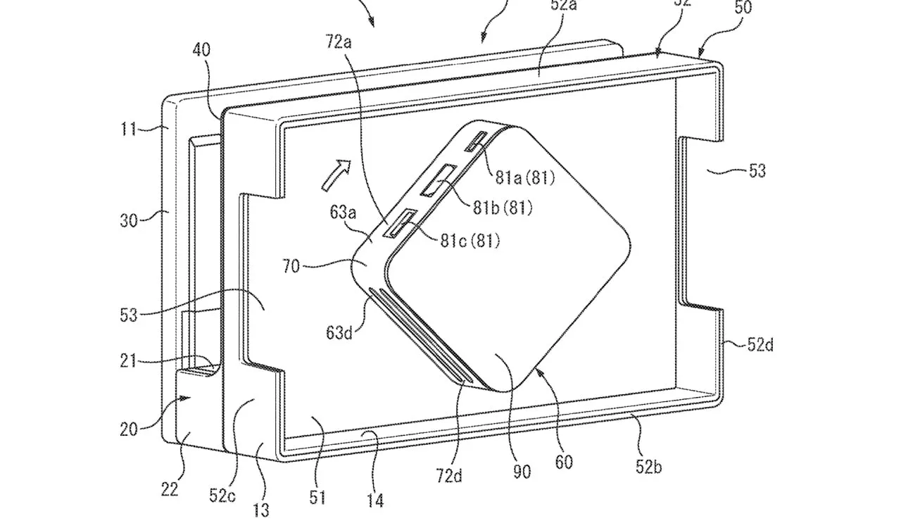
In what appears to be a response to this problem, Nintendo's recent patent, dated April 2nd, 2024, proposes a rotating I/O panel that could dramatically change how Switch users interact with their consoles. The innovation involves a 'swivel block' that would allow all the necessary ports to rotate 180 degrees, effectively switching from one side to the other. This means that depending on where your TV's ports are, you could easily flip the dock's ports to the left or right. The patent diagrams reveal this concept, showcasing a level of flexibility that isn't currently available with the existing dock design.

It's important to note, however, that the implementation of this patent in a real-world product may not be immediate. Considering the Nintendo Switch has been in the market for over seven years and has seen a successful run with over 139 million units sold, the timing of such an innovation raises questions. The Switch may be approaching the end of its life cycle, so introducing a new dock design might seem unnecessary at this stage. However, with talks and speculation around a possible "Switch 2" or successor console, this patent could very well be a glimpse into the future of Nintendo's hardware design philosophy.

This rotating panel is seen as an elegant solution to a rather specific problem. With no official word from Nintendo about the adoption of this design in upcoming products, the gaming community can only speculate. Fans and critics alike ponder over the practicality and necessity of such a feature, wondering if it would be worth investing in for the current Switch models or if it's meant for future iterations of the console. The conversations stretch across online platforms, from Reddit to gaming forums, with mixed opinions about the potential impact and usefulness of this design change.

For now, the rotating panel remains a concept detailed in patent documents. While some players might not have felt the inconvenience of the current setup, Nintendo's motivation to file such a patent suggests an ongoing commitment to user experience and a willingness to explore hardware innovations. Whether we will see this rotating I/O panel come into play in the near term or as part of a future device remains uncertain.

While the community waits for more concrete information, this news serves as an exciting conversation starter about the future direction of console design and user interfaces. Nintendo's history of inventive solutions and surprise announcements keeps fans on their toes, eager to see what the company will unveil next. Regardless of the outcome, it's clear that Nintendo continues to think outside the box—or, in this case, the dock—when it comes to enhancing the gaming experience for its loyal customer base.

Author Image

Aaron Chisea

Hey there, I'm Aaron Chisea! When I'm not pouring my heart into writing, you can catch me smashing baseballs at the batting cages or diving deep into the realms of World of Warcraft. From hitting home runs to questing in Azeroth, life's all about striking the perfect balance between the real and virtual worlds for me. Join me on this adventure, both on and off the page!

Post Comments

You must be logged in to post a comment!